If you want to know about the brick masonry or types of concrete and its uses or concrete mix design, please click the link.
Pile foundation is a type of deep foundation used to transfer structural loads to deeper layers of soil or rock. It consists of long, slender columns made of concrete, steel, or timber that are driven into the ground using a pile driver or drilled into the earth.
Pile foundations are commonly used for large or heavy structures, such as high-rise buildings, bridges, and industrial plants, to provide stability and support for the structure.
- A pile is a slender structural member having a very small area of cross-section relative to its length. It is a deep foundation where depth is greater than width. It is used when a shallow foundation can’t support the structure.

- Pile foundations are the part of a structure used to carry and transfer the load of the structure to the bearing ground located at some depth below ground surface.
- The main components of the foundation are the pile cap and the piles.
- Piles are long and slender members which transfer the load to deeper soil or rock of high bearing capacity avoiding shallow soil of low bearing capacity. The main types of materials used for piles are Wood, steel and concrete. Piles made from these materials are driven, drilled or jacked into the ground and connected to pile caps. Depending upon type of soil, pile material and load transmitting characteristic piles are classified accordingly.
- Pile foundations have been used as load carrying and load transferring systems for many years.
- More recently, the growing need for housing and construction has forced authorities and development agencies to exploit lands with poor soil characteristics. This has led to the development and improved piles and pile driving systems. Today there are many advanced techniques of pile installation.
1) Historical background
- Driving of bearing piles to support structures is one of the earliest examples of the art and science of the civil engineer.
- Timber pillars were used as early as in 200BC to 200AD.
- Timber because of its strength combined with lightness, durability and ease of cutting and handling, remained the only material used for piling until comparatively recent times.
- It was replaced by concrete and steel only because these newer materials could be fabricated into units that were capable of sustaining compressive, bending and tensile forces for beyond the capacity of a timber pile of like dimensions.
- Reinforced concrete, which was developed as a structural medium in the late nineteenth and early twentieth centuries, largely replaced timber for high-capacity piling for works on land.
- The partial replacement of driven precast concrete piles by numerous forms of cast-in-situ piles has been due more to the development of highly efficient machines for drilling pile bore holes of large diameter and great depth in a wide ranged soil and rock conditions, than to any deficiency in the performance of the precast concrete element.
- Steel has been used to an increasing extent for piling due to its ease of fabrication and handling and its ability to withstand hard driving problem of corrosion in marine structures have been overcome by the introduction of durable coatings and cathodic protection.
2) Function of piles
As with other types of foundations, the purpose of a pile foundations is:
- To transmit a foundation load to a solid ground
- To resist vertical, lateral and uplift load
- A structure can be founded on piles if the soil immediately beneath its base does not have adequate bearing capacity. If the results of site investigation show that the shallow soil is unstable and weak or if the magnitude of the estimated settlement is not acceptable a pile foundation may become considered. Further, a cost estimate may indicate that a pile foundation may be cheaper than any other compared ground improvement costs.
- In the cases of heavy constructions, it is likely that the bearing capacity of the shallow soil will not be satisfactory, and the construction should be built on pile foundations. Piles can also be used in normal ground conditions to resist horizontal loads. Piles are a convenient method of foundation for works over water, such as jetties or bridge piers.
3) Uses of the pile (necessity of pile foundation)
- Transfer load to strong and or less compressive strata.
- Transfer loads in weak soil by friction between the pile and the soil.
- Compact loose granular soil.
- Provide foundation and inclined forces from bridge abutment and retaining walls.
- Carry uplift forces.
- Stiffen soils beneath machine foundation to control both the amplitude vibration and natural frequency of the system.
4) Establishment of need for a pile
Need of a pile foundation can be justified in the following situations….
- Upper soil strata are too compressible or generally too weak to support heavy vertical reaction transmitted by the super structure.
- In this instance piles serve as extensions of columns or piers to carry the loads to a deep, rigid stratum such as rock (Point bearings piles).
- If such a rigid stratum does not exist within a reasonable depth, the load must be gradually transferred, mainly by friction, along the pile shafts (friction piles)

- Piles are also frequently required because of the relative inability of shallow footings to transmit inclined, horizontal, or uplift forces and overturning moments. Such situations are common in design of earth retaining structures (walls and bulk heads) and tall structures subjected to high wind and earthquake forces.
- Piles resist upward forces by negative friction around their shafts (up lift piles).

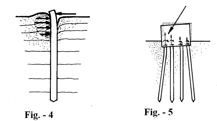
- Horizontal forces are resisted either by vertical piles in bending or by groups of vertical and battered piles (Fig. 4 & 5).

- Pile foundations are often required when scour around footings could cause erosion in spite of the presence of strong, incompressible strata (such as sand or gravel) at shallow depths (Fig -6).

- In areas where expansive or collapsible soils extend to considerable depth below the soil surface, pile foundations may be needed to assure safety against undesirable seasonal movements of the foundations (fig.7).

5) Classification of piles
- Piles can be classified in the following ways
i) On the basis of Material
- Timber
- Steel
- PCC
- RCC
- PSC
- Composite
ii) On the basis of Method of Construction
- Driven/displacement precast piles
- Driven/displacement cast in situ piles
- Bored/replacement precast piles
- Bored /replacement cast in situ piles
iii) On the Basis of Sectional Area
- Circular
- Square
- Tubular
- Octagonal
- H-section
iv) On the Basis of Mode of Load Transfer
- End bearing piles
- Friction piles
- Bearing cum friction piles
v) On the Basis of Size of Piles
- Micro (Mini) Piles (<150 mm)
- Small diameter piles (>150 mm < 600mm)
- Large diameter pile (>600 mm)
vi) On the Basis of Inclination of Piles
- Vertical piles
- Raker (batter piles)





6) Choice Of Pile Material
- Principal advantages and disadvantages of different pile materials.
| Material | Advantages | Disadvantages |
| Timber | Easy to handle or cut off, relatively inexpensive material. Readily available, naturally tapered, Light and very durable below ground level. | Decay above water table, especially in marine environment, Limited in size and bearing capacity, Prone to damage by hard driving, Noisy to drive. |
| Steel | Easy to handle, cut off, extend. Available in any length or size, can penetrate hard strata, boulders, soft rock. Convenient to combine with steel superstructure, ability to withstand hard driving, capable for heavy loads. | Subject to corrosion, require protection in marine environment. Flexible H-piles may deviate from axis of driving. Relatively expensive material than timber and concrete. Noisy to drive. |
| Concrete: Precast | Durability in almost any environment. Convenient to combine with concrete superstructure. | Cumbersome to handle and drive. Cumbersome to handle and drive. Difficult to cut off or extend. Noisy to drive |
| Cast-in-situ: Casting left in ground | Allows inspection before concreting. Easy to cut off or extend. | Casting cannot be re-used. Thin casing may be damaged by impact or soil pressure. |
| Casting with- drawing or no casting. | No store space required. Can be made before excavation. Some types allow larger displacement in weaker soils. Some types have no driving operation, suitable where noise and vibration are prohibited (downtown). | In soft soils shaft may be squeezed by soil cave in. In case of heavy compaction of concrete previously completed piles may be damaged. If concrete is placed too fast there is danger of creation of a void. |
7) Factors Governing Choice of Type of Pile
The type of Pile shall be selected by considering broadly the following factors.
- Availability of space
- Proximity to structures
- Reliability
- The advantages and disadvantages of the various forms of pile affect the choice of pile for any particular foundation project and these are summarized as follows.
i) Driven Precast Piles
Advantages:
- Material forming pile can be inspected for quality and soundness before driving
- Not liable to ‘squeezing’ or ‘necking’
- Construction operations not affected by ground water
- Projection above ground level advantageous to marine structures
- Can be driven in very long lengths
- Can be designed to withstand high bending and tensile stresses
Disadvantages:
- Unjointed types cannot readily be varied in length to suit varying level of bearing stratum
- May break during driving necessitating replacement piles
- May suffer unseen damage which reduces carrying capacity
- Uneconomical if cross-section is governed by stresses due to handling and driving rather than by compressive, tensile, or bending stresses caused by working conditions
- Noise and vibration due to driving may be unacceptable
- Displacement of soil during driving may lift adjacent piles or damage adjacent structures
- End enlargements, if provided, destroy or reduce skin friction over shaft length
- Cannot be driven in conditions of low headroom
ii) Driven-and-cast-in-situ piles
Advantages
- Length can easily be adjusted to suit varying level of bearing stratum
- Driving tube driven with closed end to exclude ground water
- Enlarged base possible
- Formation of enlarged base does not destroy or reduce shaft skin friction
- Material in pile not governed by handling or driving stresses
- Noise and vibration can be reduced in some types by driving with internal drop-hammer
Disadvantages
- Concrete in shaft liable to be defective in soft squeezing soils or in conditions of artesian water flow where withdraw able-tube types are used
- Concrete cannot be inspected after installation
- Length of some types limited by capacity of piling rig to pull out driving tube
- Displacement may damage fresh concrete in adjacent piles, or lift these piles, or damage adjacent structure
- Noise and vibration due to driving may be unacceptable
- Cannot be used in river or marine structures without special adaptation
- Cannot be driven with very large diameters
- End enlargements are of limited size in dense or very stiff soils
- When light steel sleeves are used in conjunction with withdrawal able driving tube, skin friction on shaft will be destroyed or reduced.
iii) Bored and cast – cast in situ replacement Piles
Advantages
- Length can readily be varied to suit variation in level of bearing stratum
- Soil or rock removed during boring can be inspected for comparison with site investigation data
- In-situ loading tests can be made in large diameter pile bore holes, or penetration tests made in small boreholes
- Very large (up to 7.3m diameter) bases can be formed in favourable ground
- Drilling tools can break up boulders or other obstructions which cannot be penetrated by any form of displacement pile
- Material forming pile is not governed by handling or driving stresses
- Can be installed in a very long length
- Can be installed without appreciable noise or vibration
- No ground heaves
- Can be installed in conditions of low headroom
Disadvantages
- Concrete in shaft liable to squeezing or necking in soft soils where conventional types are used.
- Special techniques needed for concreting in water-bearing soils
- Concrete cannot be inspected after installation
- Enlarged base cannot be formed in cohesion less soils
- Cannot be extended above ground level without special adaptation
- Low end-bearing resistance in cohesion less soils due to loosening by conventional drilling operations
- Drilling a number of piles in group can cause loss of ground and settlement of adjacent structures
Pile foundations require careful design and construction to ensure that they can support the loads and provide the required stability for the structure. Proper maintenance and monitoring of the foundation are also important to ensure that it remains safe and stable over time.
soo helpfull